來源:壹芯微 發布日期
2021-02-26 瀏覽:-圖解晶體三極管的工作狀態
三極管是一個以b(基極)電流Ib 來驅動流過CE 的電流Ic 的器件,它的工作原理很像一個可控制的閥門。

圖1
左邊細管子里藍色的小水流沖動杠桿使大水管的閥門開大,就可允許較大紅色的水流通過這個閥門。當藍色水流越大,也就使大管中紅色的水流更大。如果放大倍數是100,那么當藍色小水流為1 千克/小時,那么就允許大管子流過100千克/小時的水。三極管的原理也跟這個一樣,放大倍數為100 時,當Ib(基極電流)為1mA 時,就允許100mA 的電流通過Ice。
有了這個形象的解釋之后,我們再來看一個單片機里常用的電路。

圖2
我們來分析一下這個電路,如果它的放大倍數是100,基極電壓我們不計。基極電流就是10V&pide;10K=1mA,集電極電流就應該是100mA。根據歐姆定律,這樣Rc上的電壓就是0.1A×50Ω=5V。那么剩下的5V 就吃在了三極管的C、E 極上了。好!現在我們假如讓Rb 為1K,那么基極電流就是10V&pide;1K=10mA,這樣按照放大倍數100 算,Ic 就是不是就為1000mA 也就是1A 了呢?假如真的為1安,那么Rc 上的電壓為1A×50Ω=50V。啊?50V!都超過電源電壓了,三極管都成發電機了嗎?其實不是這樣的。見下圖:

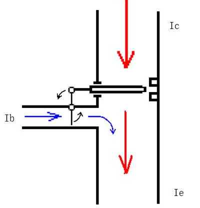
圖3
我們還是用水管內流水來比喻電流,當這個控制電流為10mA 時使主水管上的閥開大到能流過1A 的電流,但是不是就能有1A 的電流流過呢?不是的,因為上面還有個電阻,它就相當于是個固定開度的閥門,它串在這個主水管的上面,當下面那個可控制的閥開度到大于上面那個固定電阻的開度時,水流就不會再增大而是等于通過上面那個固定閥開度的水流了,因此,下面的三極管再開大開度也沒有用了。因此我們可以計算出那個固定電阻的最大電流10V&pide;50Ω=0.2A也就是200mA。就是說在電路中三極管基極電流增大集電極的電流也增大,當基極電流Ib 增大到2mA 時,集電極電流就增大到了200mA。當基極電流再增大時,集電極電流已不會再增大,就在200mA 不動了。此時上面那個電阻也就是起限流作用了。
上面講的三極管是工作在放大狀態,要想作為開關器件來應用呢?毫無疑問三極管必須進入飽和導通和截止狀態。圖4所示的電路中,我們從Q 的基極注入電流IB,那么將會有電流流入集電極,大小關系為:IC=βIB 。而至于BJT 發射結電壓VBE,我們說這個并不重要,因為只要IB 存在且為正值時,這個結電壓便一定存在并且基本恒定(約0.5~1.2V,一般的管子取0.7V 左右),也就是我們所講的發射結正偏。既然UBE 是固定的,那么,如果BJT 基極驅動信號為電壓信號時,就必須在基極串聯一個限流電阻,如圖5。此時,基極電流為IB=(Ui-UBE)/RB。一般情況省略RB 是不允許的,因為這樣的話IB 將會變得很大,造成前級電路或者是BJT 的損壞。

圖4、圖5
接下來進入我們最關心的問題:RB 如何選取。前面說到過IC=βIB,為了使晶體管進入飽和,我們必須增加IB,從而使IC 增大,RC 上的壓降隨之增大,直到RC 上幾乎承受了所有的電源電壓。此時,UCE 變得很小,約0.2~0.3V(對于大功率BJT,這個值可能達到2~3V),也就是我們所說的飽和壓降UCE(sat)。如果達到飽和時,我們忽略UCE(sat),那么就有ICRL=βIBRL=Vcc。也就是只要保證IB≥IC/β或IB≥Vcc/(βRL)時,晶體管就能進入飽和狀態。我們看這樣一組數據:Vcc=5V,β=200,RL=100Ω。那么要求IB≥5/(200×100)A=0.25mA。如果Ui=5V,那么取RB≤(Ui-UBE)/IB≈(5-0.7)/0.25kΩ=17.2kΩ就能滿足要求了。但是,實際上,對于這種情況,如果取一個10kΩ以上的電阻都可能導致BJT 無法進入飽和狀態。這是為什么呢?
因為我們的器件不是理想的,我們在來看下面一個圖。
這是我們常用的一款小信號BJT,型號為MMBT3904 的直流電壓增益曲線。從圖中可以看出,BJT 的共射極直流電壓增益hFE(也就是通常意義下的β)不僅是溫度的函數,而且與集電極電流有關。在一定的集電極電流范圍內,hFE 基本為常數;當集電極電流大于一定值時,hFE 將急劇下降。產生這一現象的機理我們在這里就不討論了。我們在使用BJT 作為開關時,大多數情況下用于驅動外部負載,如LED、繼電器等,這些負載的電流一般較大,此時hFE 已經下降到遠小于我們計算時使用的那個值。如前面的例子,如果這個BJT 為MMBT3904,集電極電流達到近50mA,此時的β(或hFE)已經下降到只要100 左右了,計算基極電阻時使用的β也應該取100 而不是200。
而實際應用中,IB 并不是越大越好,因為IB 對外電路來說是沒有實質作用的,它僅僅是維持BJT 可靠導通的必要條件。IB 越大,驅動部分的損耗也就越大,從而降低了電路的效率。而且IB越大還會影響三極管的開關速率,這個我們后面再深究。
電子元件基礎之三極管靜態工作點
我們都知道,三極管的工作狀態有三個,截止區,放大區,飽和區。那么三極管工作在什么工作狀態是由什么決定的呢?是由基極電流(Ib)來決定的,和其他因素完全沒有關系。
壹芯微科技針對二三極管,MOS管作出了良好的性能測試,應用各大領域,如果您有遇到什么需要幫助解決的,可以點擊右邊的工程師,或者點擊銷售經理給您精準的報價以及產品介紹
工廠地址:安徽省六安市金寨產業園區
深圳辦事處地址:深圳市福田區寶華大廈A1428
中山辦事處地址:中山市古鎮長安燈飾配件城C棟11卡
杭州辦事處:杭州市西湖區文三西路118號杭州電子商務大廈6層B座
電話:13534146615
企業QQ:2881579535

深圳市壹芯微科技有限公司 版權所有 | 備案號:粵ICP備2020121154號