來源:壹芯微 發布日期
2019-05-14 瀏覽:-壹芯微作為國內專業生產二三極管的生產廠家,生產技術已經是非常的成熟,進口的測試儀器,可以很好的幫組到客戶朋友穩定好品質,也有專業的工程師在把控穩定質量,協助客戶朋友解決一直客戶自身解決不了的問題,每天會分享一些知識或者客戶的一些問題,今天我們分享的是,P溝道增強型MOS場效應管工作原理及結構特性詳解,請看下方
金屬氧化物半導體場效應(MOS)晶體管可分為N溝道與P溝道兩大類,P溝道硅MOS場效應晶體管在N型硅襯底上有兩個P+區,分別叫做源極和漏極,兩極之間不通導,柵極上加有足夠的正電壓(源極接地)時,柵極下的N型硅表面呈現P型反型層,成為連接源極和漏極的溝道。改變柵壓可以改變溝道中的電子密度,從而改變溝道的電阻。這種MOS場效應晶體管稱為P溝道增強型場效應晶體管。如果N型硅襯底表面不加柵壓就已存在P型反型層溝道,加上適當的偏壓,可使溝道的電阻增大或減小。這樣的MOS場效應晶體管稱為P溝道耗盡型場效應晶體管。統稱為P溝道MOS晶體管。
P溝道MOS晶體管的空穴遷移率低,因而在MOS晶體管的幾何尺寸和工作電壓絕對值相等的情況下,PMOS晶體管的跨導小于N溝道MOS晶體管。此外,P溝道MOS晶體管閾值電壓的絕對值一般偏高,要求有較高的工作電壓。它的供電電源的電壓大小和極性,與雙極型晶體管——晶體管邏輯電路不兼容。PMOS因邏輯擺幅大,充電放電過程長,加之器件跨導小,所以工作速度更低,在NMOS電路(見N溝道金屬—氧化物—半導體集成電路)出現之后,多數已為NMOS電路所取代。只是,因PMOS電路工藝簡單,價格便宜,有些中規模和小規模數字控制電路仍采用PMOS電路技術。
PMOS集成電路是一種適合在低速、低頻領域內應用的器件。PMOS集成電路采用-24V電壓供電。如圖5所示的CMOS-PMOS接口電路采用兩種電源供電。采用直接接口方式,一般CMOS的電源電壓選擇在10~12V就能滿足PMOS對輸入電平的要求。
MOS場效應晶體管具有很高的輸入阻抗,在電路中便于直接耦合,容易制成規模大的集成電路。
p溝道增強型mosfet的結構及工作原理
一、P溝道增強型mosfet的結構和工作原理
如圖(1)是P溝道增強型mosfet的結構示意圖.通過光刻、擴散的方法或其他手段,在N型襯底(基片)上制作出兩個摻雜的P區,分別引出電極,稱為源極(s)和漏極(D),同時在漏極與源極之間的Si02絕緣層上制作金屬,稱為柵極(G),柵極與其他電極是絕緣的,所以稱為絕緣柵場效應管 。圖(2)為P溝道增強型MOS管的電路符號

正常工作時,P溝道增強型mosfet的襯底必須與源極相連,而漏心極對源極的電壓v璐應為負值,以保證兩個P區與襯底之間的PN結均為反偏,同時為了在襯底頂表面附近形成導電溝道。柵極對源極的電壓‰也應為負.
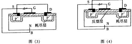
1.導電溝道的形成(VDS=0)
當VDS=0時,在柵源之間加負電壓比,如圖(3)所示,由于絕緣層的存在,故沒有電流,但是金屬柵極被補充電而聚集負電荷,N型半導體中的多子電子被負電荷排斥向體內運動,表面留下帶正電的離子,形成耗盡層,隨著G、S間負電壓的增加,耗盡層加寬,當v&增大到一定值時,襯底中的空穴(少子)被柵極中的負電荷吸引到表面,在耗盡層和絕緣層之間形成一個P型薄層,稱反型層,如下圖
(4)所示,這個反型層就構成漏源之間的導電溝道,這時的VGs稱為開啟電壓VGS(th),啵到vGS(th)后再增加,襯底表面感應的空穴越多,反型層加寬,而耗盡層的寬度卻不再變化,這樣我們可以用vGs的大小控制導電溝道的寬度。

2.VDS≠O的情況
導電溝道形成以后,D,S間加負向電壓時,那么在源極與漏極之間將有漏極電流ID流通,而且ID隨/VDS/而增.ID沿溝道產生的壓降使溝道上各點與柵極間的電壓不再相等,該電壓削弱了柵極中負電荷電場的作用,使溝道從漏極到源極逐漸變窄,如圖(5)所示.當VDS增大到使VGD=VGS(即VDS=VGS一VGS(TH)),溝道在漏極附近出現預夾斷,如圖(6)所示.再繼續增大VDS,夾斷區只是稍有加長,而溝道電流基本上保持預夾斷時的數值,其原因是當出現預夾斷時再繼續增大VDS,VDS的多余部分就全部加在漏極附近的夾斷區上,故形成的漏極電流ID近似與VDS無關。

二、P溝道增強型mosfet的特性曲線和轉移特性曲線
圖(7)、(8)分別是P溝道增強型M06管的漏極特性曲線和轉移特性曲線.漏極特性曲線也可分為可變電阻區、恒流區和夾斷區三部分.轉移特性曲線是、,璐使管子工作在漏極特性曲線的恒流區時所對應的ID=F(VGS)曲線:
ID與VGS的近似關系式為:

壹芯微科技針對二三極管作出了良好的性能測試,應用各大領域,如果您有遇到什么需要幫助解決的,可以點擊右邊的工程師,或者點擊銷售經理給您精準的報價以及產品介紹
工廠地址:安徽省六安市金寨產業園區
深圳辦事處地址:深圳市福田區寶華大廈A1428
中山辦事處地址:中山市古鎮長安燈飾配件城C棟11卡
杭州辦事處:杭州市西湖區文三西路118號杭州電子商務大廈6層B座
電話:13534146615
企業QQ:2881579535

深圳市壹芯微科技有限公司 版權所有 | 備案號:粵ICP備2020121154號