來源:壹芯微 發布日期
2022-09-21 瀏覽:-繼電器的應用,相信大家都知道,在電路中只要給它供電、斷電也就可以工作了。
然而,它的應用細節,不知道大家有沒注意 。下面談談我的觀點
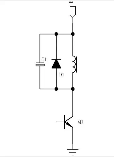
一、現在流行的接法,如圖。
圖中,繼電器的線圈經過Q1作為開關,使其導通與斷開。D1作為續流,消耗線圈中的能量。
二、繼電器的特點;
1、吸合電流大于釋放電流
2、保持電流小于吸合電流、大于釋放電流。
以上兩點均為繼電器的“通病”,大家可以做一下實驗,或看一看說明書。
三、流行電路的優點及缺點
大家知道,繼電器的線圈相當于電感,它的電流不能突變。在釋放時,Q1截止瞬間,線圈將仍保持原來的電流大小,如果不接入D1這個二極管,產生的電壓-----理論上是無窮大的(在外電路負載為無窮大時),流行電路中的D1的接入,給線圈中的能量提供了釋放的通道。
然而,假如(理論上)二極管為理想的,即它只單向導通而沒有任何功率消耗,那么,在繼電器釋放時,線圈中的電流將一直保持吸合時的最大電流(同時假如線圈為理想的),這種情況將使繼電器無法釋放。
實際中的二極管及線圈都不是理想的,所以,它是可以釋放的。繼電器的吸合到釋放是由線圈中的電流決定的,如果二極管及線圈的等效電阻(直流)很小,那么它的釋放時間將很長,反之,則較短。
由此看,流行電路的優點是提供了Q1截止時的能量釋放通道;其缺點是,釋放時間還有進一步縮短的可能。
四、其它接法。
曾見過象下圖中電路,也曾見過象下圖中沒有二極管的接法,這些接法都考慮到了抑制開關Q1截止時的反向電壓,但沒有考慮到釋放時間問題。
五、建議接法。
1、加入電阻R1,使能量釋放快一些。
上圖中,線圈在Q1關斷時,能量主要消耗在R1上,使繼電器可以快速降到釋放電流。
R1的選擇,由Q1的最高反壓、線圈工作電流兩者決定,電阻越大,釋放時間越短。---- 計算就不說了吧。
2、減小繼電器保持時的功耗。
大家知道,繼電器吸合時需要較大的電流,而保持吸合狀態則不需要和吸合時的電流一樣。
下圖接入R1及C1將明顯減小繼電器的保持功耗。在繼電器吸合前,C1已充電至供電電壓,吸合的瞬間將由C1為
繼電器供電,以保障吸合所需的大電流。當吸合后,供給線圈的電流來自R1,它將電流限制到較小狀態。
壹芯微科技專注于“二,三極管、MOS(場效應管)、橋堆”研發、生產與銷售,20年行業經驗,擁有先進全自動化雙軌封裝生產線、高速檢測設備等,研發技術、芯片源自臺灣,專業生產流程管理及工程團隊,保障所生產每一批物料質量穩定和更長久的使用壽命,實現高度自動化生產,大幅降低人工成本,促進更好的性價比優勢!選擇壹芯微,還可為客戶提供參數選型替代,送樣測試,技術支持,售后服務等,如需了解更多詳情或最新報價,歡迎咨詢官網在線客服!
手機號/微信:13534146615
QQ:2881579535
工廠地址:安徽省六安市金寨產業園區
深圳辦事處地址:深圳市福田區寶華大廈A1428
中山辦事處地址:中山市古鎮長安燈飾配件城C棟11卡
杭州辦事處:杭州市西湖區文三西路118號杭州電子商務大廈6層B座
電話:13534146615
企業QQ:2881579535

深圳市壹芯微科技有限公司 版權所有 | 備案號:粵ICP備2020121154號