來源:壹芯微 發布日期
2023-05-23 瀏覽:-MOSFET的EOSS參數解析
Mosfet的寄生參數,其中Eoss是一個非常重要的參數。
1、Eoss參數的重要性
對于硬開關變換電路來說,MOSFET開通之前,Coss需要釋放能量,這部分能量就構成一部分導通損耗。
對于軟開關變換電路來說,MOSFET開通之前,電流可以為零,也可以流過反向二極管續流。實現了軟開關減小了導通損耗。
因此,Eoss在于硬開關電路里面是非常重要的。對于軟開關電路來說,Eoss并不會太影響效率。
2、Eoss參數的來源
2.1 Coss的來源
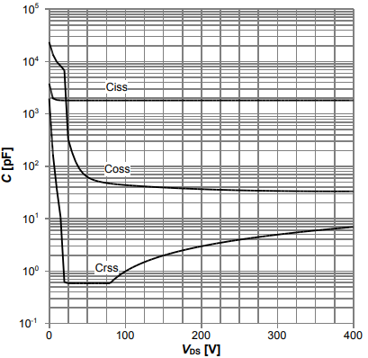
Coss為MOSFET的寄生電容,Coss = Cgd + Cds,
對于MOSFET來說,當Vds是變化的時候,Coss也是變化的。下圖的IPW60R099C7的結電容與Vds電壓的關系。
由此可見,Vds電壓越大,結電容越小。
2.2 Qoss的來源
上節描述了Coss的來源,Coss上的電荷就是Qoss。由于Coss的非線性,導致Qoss為:

以圖形表示為:
2.3 Eoss的推導
Coss放電產生的損耗和容值、頻率成正比,和電壓的平方成正比。
在功率MOSFET的數據表中,Coss對應產生的功耗就是Eoss。
Eoss為參數Coss儲存的能量,
但是,由于Coss不是一個常量。因此,不能用Qoss與Vds的函數曲線,對Qoss進行積分。
2.4 Eoss 的獲取方式
2.4.1 數據手冊直接獲取
對于低壓MOSFET,Vds很小,導致Eoss值很小。可能數據手冊里面忽略不計了。
對于中壓MOSFET,Vds也是中壓,一般數據手冊里面給了Eoss與Vds的函數曲線。
下圖為IPW60R099C7的Eoss與Vds的函數關系。
2.4.2 微分法計算:
Vds電壓從0開始,使用小的電壓增幅間隔,在不同的電壓下可以得到相應的電容值。當電壓從Vds(n)增加到Vds(n+1)時,增加的Qoss可以由下式計算:
Vds電壓,需要從0以很小的步長慢慢增加到最大值。一點一點地擬合出2.4.1的圖形。
壹芯微科技專注于“二,三極管、MOS(場效應管)、橋堆”研發、生產與銷售,20年行業經驗,擁有先進全自動化雙軌封裝生產線、高速檢測設備等,研發技術、芯片源自臺灣,專業生產流程管理及工程團隊,保障所生產每一批物料質量穩定和更長久的使用壽命,實現高度自動化生產,大幅降低人工成本,促進更好的性價比優勢!選擇壹芯微,還可為客戶提供參數選型替代,送樣測試,技術支持,售后服務等,如需了解更多詳情或最新報價,歡迎咨詢官網在線客服!
手機號/微信:13534146615
QQ:2881579535
工廠地址:安徽省六安市金寨產業園區
深圳辦事處地址:深圳市福田區寶華大廈A1428
中山辦事處地址:中山市古鎮長安燈飾配件城C棟11卡
杭州辦事處:杭州市西湖區文三西路118號杭州電子商務大廈6層B座
電話:13534146615
企業QQ:2881579535

深圳市壹芯微科技有限公司 版權所有 | 備案號:粵ICP備2020121154號