來源:壹芯微 發布日期
2022-04-05 瀏覽:-利用FPGA實現與DS18B20的通信介紹|壹芯微
DS18B20是DALLAS公司生產的一線式數字溫度傳感器,采用3引腳TO-92型小體積封裝;溫度測量范圍為-55℃~+125℃,可編程為9位~12位A/D轉換精度,測溫分辨率可達0.0625℃,被測溫度用符號擴展的16位數字量方式串行輸出。一線式(1-WIRE)串行總線是利用1條信號線就可以與總線上若干器件進行通信。具體應用中可以利用微處理器的I/O端口對DS18B20直接進行通信,也可以通過現場可編程門陣列(FPGA)等可編程邏輯器件(PLD)實現對1-WIRE器件的通信。
本文介紹利用ACTEL公司的ProASICplus系列FPGA實現與DS18B20的通信功能。FPGA可以將讀出DS18B20的48位ID號和12位溫度測量結果保存在內部寄存器中,微處理器可以隨時快速地從FPGA寄存器中讀取這些信息。一般在使用DS18B20時往往采用微處理器的I/O端口實現與該器件的通信,這種方法雖然比較容易和方便,但是,因為DS18B20的一線式串行總線對時序要求比較嚴格,因此,為了保證與DS18B20的通信可靠性,微處理器與DS18B20通信時需要采用關閉中斷的辦法,以防止操作時序被中斷服務破壞。利用FPGA實現與DS18B20通信不存在被迫關閉中斷的情況,可以滿足對實時性要求嚴格的應用要求。
1.ProASICplus系列FPGA簡介
ProASICplus系列FPGA是ACTEL公司推出的基于Flash開關編程技術的現場可編程門陣列,包括從7.5萬門的APA075型到100萬門的APAl000型,具有高密度、低功耗、非易失、含有嵌入式RAM及可重復編程等特點。由于ProASICplus系列FPGA基于Flash技術,利用Flash開關保存內部邏輯,因此不需要另外的器件;也不需要上電配置過程,所以具備上電就立即工作的特點。不用配置器件,系統的保密性提高。
本文在電力監控的產品中利用APA150型FPGA實現了邏輯控制、A/D采樣控制和FIFO存儲等功能,并利用剩余的資源實現了DS18B20的通信功能。APA150在整個系統中充當協處理器,使主CPU從繁重的實時處理中解脫出來。
2.DS18B20簡介
2.1內部結構
DS18B20的內部結構如圖1所示,主要由以下幾部分組成:64位ROM、溫度傳感器、非揮發的溫度報警觸發器TH(溫度高)和TL(溫度低)、配置寄存器、暫存寄存器(SCRATCHPAD)、存儲器控制邏輯。DQ為數字信號輸入/輸出端。

圖1DS18B20的內部結構框圖
ROM中的64(8位產品家族編號、48位ID號、8位CRC)位序列號是出廠前刻好的,這64位序列號具有惟一性,每個DS18B20的64位序列號均不相同。
8位CRC生成器可以完成通信時的校驗。
暫存寄存器有9個字節,包含溫度測量結果、溫度報警寄存器、CRC校驗碼等內容。
2.2操作步驟
對DS18B20的操作分為3個步驟:初始化、ROM命令和DS18B20功能命令。
(1)初始化
FPGA要與DS18B20通信,首先必須完成初始化。FPGA產生復位信號,DS18B20返回響應脈沖。
(2)ROM命令
該步驟完成FPGA與總線上的某一具體DS18B20建立聯系。ROM命令有搜尋ROM(SEARCHROM)、讀ROM(READROM)、匹配ROM(MATCHROM)、忽略ROM(SKIPROM)、報警查找等命令(ALARMSEARCH)。
這里,FPGA只連接1個DS18B20,因此只使用讀ROM命令,來讀取DS18B20的48位ID號。
(3)DS18B20功能命令
FPGA在該步驟中完成溫度轉換(CONVERTT)、寫暫存寄存器(WRITESCRATCHPAD)、讀暫存寄存器(READSCRATCHPAD)、拷貝暫存寄存器(COPYSCRATCHPAD)、裝載暫存器寄存器(RECALLE2)、讀供電模式命令(READPOWERSUPPLY)。
文中不用溫度報警功能,因此在本步驟中只需完成溫度轉換,然后通過讀暫存寄存器命令完成溫度轉化的結果。
2.3操作時序
DS18B20的一線式操作時序如圖2所示。從時序圖中可以看出,對DS18B20的操作時序要求比較嚴格。利用FPGA可以實現這些操作時序。

圖2DS18B20的1-Wire操作時序
3.FPGA與DS18B20的通信
3.1DS18B20的操作模塊
FPGA需要完成DS18B20的初始化、讀取DS18B20的48位ID號、啟動DS18B20溫度轉換、讀取溫度轉化結果。讀取48位ID號和讀取溫度轉換結果過程中,FPGA還要實現CRC校驗碼的計算,保證通信數據的可靠性。
以上操作反復進行,可以用狀態機來實現。狀態機的各種狀態如下:
RESET1:對DS18B20進行第一次復位,然后進入DELAY狀態,等待800μs后,進入CMD33狀態。
CMD33:對DS18B20發出0×33命令,讀取48位ID值。
GET_ID:從DS18B20中讀取48位ID值。
RESET2:對DS18B20進行第二次復位,然后進入DELAY狀態等待800μs后,進入CMDCC狀態。
CMDCC:向DS18B20發出忽略ROM命令,為進入下一狀態作準備。
CMD44:向DS18B20發出啟動溫度轉換命令,然后進入DELAY狀態等待900ms后進入下一狀態。
RESET3:對DS18B20進行第三次復位。
CMDCC2:向DS18B20發出忽略ROM命令,為了進入下一狀態作準備。
GET_TEMP:從DS18B20中讀取溫度測量數值。
DELAY:等待狀態。
WRITE_BIT:向DS18B20中寫入數據位狀態。
READ_BIT:從DS18B20中讀取數據位狀態。在該狀態中每讀取1位數據,同時完成該數據位的CRC校驗計算。所有數據都讀取后,還要讀取8位CRC校驗位。這8位校驗位也經過CRC校驗計算,如果通信沒有錯誤,總的CRC校驗結果應該是0.這時可將通信正確的數據保存到id和temp_data寄存器中。
Verilog語言
設計中采用Verilog語言建立DS18B20操作模塊“DS18B20_PROC”。在該模塊中實現以上的狀態機功能。該模塊的定義為moduleDS18B20PROC(sysclk,reset,dq_pim,id,temp_data,dq_ctl)。

圖3DS18B20_PROC模塊的仿真波形
從仿真波形可以看出,系統上電后的10ms左右,FPGA可以讀出DS18B20的48位ID值,這樣,主CPU在系統復位后很短的時間內就可以讀取ID值,進行相應的處理。
3.2FPGA與CPU的接口
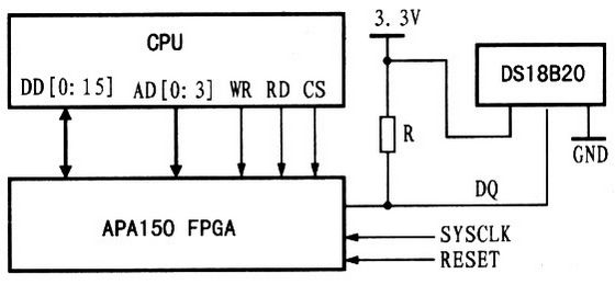
在FPGA中,要實現對DS18B20的通信處理,主模塊要實現對DS18B20_PROC模塊的調用及建立與CPU之間的接口。與CPU之間的接口通過建立若干寄存器實現。溫度測量值和48位ID可以用4個16位寄存器保存。CPU通過讀取這些寄存器可以獲得溫度測量數值和48位ID值。CPU、FPGA及DS18B20的連接原理如圖4所示。

圖4系統原理框圖
結束語
在系統中,FPGA可以分擔許多主處理器的工作,提高整體實時性,降低CPU處理的嚴格實時約束,從而降低CPU軟件處理的難度。同時,由于ACTEL公司的ProASICplus系列FPGA的保密特性,可以增強產品知識產權的保護。本設計應用在電力監控產品中。測量出的裝置內部溫度用于電量測量精度補償和報警,對保證產品測量精度和可靠運行具有重要意義。48位ID值用于產品的惟一編碼標識和以太網MAC地址,便于產品生產、維護和管理。
壹芯微科技專業生產“二極管、三極管、場效應管、橋堆”,20年豐富生產經驗,專業生產管理團隊對品質流程嚴格管控,超過4800家電路電氣生產企業選用合作,價格低于同行(20%),更具性價比,提供技術支持,售后FEA,如需了解更多產品詳情,最新報價與樣品申請等,歡迎咨詢官網在線客服!
手機號/微信:13534146615
QQ:2881579535
工廠地址:安徽省六安市金寨產業園區
深圳辦事處地址:深圳市福田區寶華大廈A1428
中山辦事處地址:中山市古鎮長安燈飾配件城C棟11卡
杭州辦事處:杭州市西湖區文三西路118號杭州電子商務大廈6層B座
電話:13534146615
企業QQ:2881579535

深圳市壹芯微科技有限公司 版權所有 | 備案號:粵ICP備2020121154號